Hampir setiap hari selalu ada desain baru untuk mengubah kabin pesawat jadi lebih mudah bagi penumpang. Yang satu ini memungkinkan traveler tak perlu antre saat naik pesawat. Namun ada tapinya.
Perusahaan pesawat, Airbus, baru saja mengeluarkan ide desain terbaru mengenai kabin pesawat. Meski baru akan dipatenkan pada bulan Februari 2016 nanti, namun desainnya sudah selesai di minggu ini.
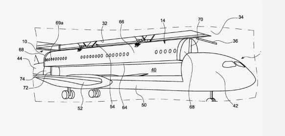
Ditengok dari CNN, Selasa (1/12/2015), desainnya agak nyeleneh. Sampai-sampai, pihak Airbus belum terlalu yakin akan ada maskapai yang mau mengambil ide mereka.
SCROLL TO CONTINUE WITH CONTENT
Airbus mendesain kabin yang bisa dicopot dari badan pesawat. Dalam bayangannya, kabin akan diangkat oleh crane dan ditaruh di pintu keberangkatan.
Nantinya, penumpang bisa langsung naik ke kursi yang sudah ditentukan. Nah, selama mereka naik ke kabin pesawat, bagian pesawat lain bisa sekaligus mengisi bahan bakar atau mengecek mesin. Sehingga, bisa menghemat waktu selama di bandara.
Masalahnya, butuh waktu lama untuk "memisahkan" kabin dari badan pesawat. Butuh desain lanjutan dan trial-error sebelum akhirnya pemisahan itu berhasil.
Pada dasarnya, Airbus belum terlalu ingin mewujudkan ide tersebut jadi nyata. Hanya saja mereka ingin idenya dipatenkan terlebih dahulu.
Tertarik naik pesawat dengan konsep seperti itu?
(shf/shf)












































Komentar Terbanyak
Wanita Palembang Nekat Nyamar Jadi Pramugari, Batik Air Buka Suara
Nyeleneh! Jemaah Zikir di Candi Prambanan: Mau Lepaskan Kutukan Roro Jonggrang
Melawai Plaza: Markas Perhiasan Jakarta yang Melegenda Itu Tak Lagi Sama